A patent application recently published by the United States Patent and Trademark Office (USPTO) on March 14, originally filed on September 14, 2022, explores the concept of tables that can deploy from the center console of vehicles.

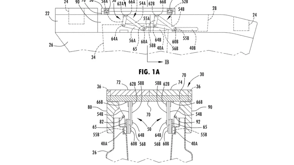
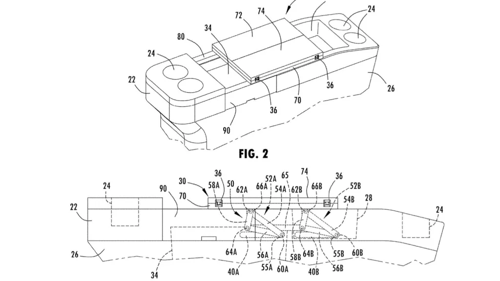
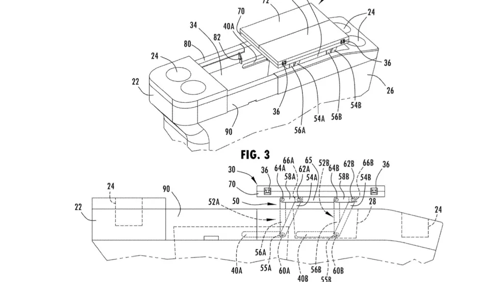
According to the application, the cover of the center console storage bin would transform into a table. It would slide forward on tracks and unfold using specially designed hinges, creating a work surface between the front seats, as suggested by Ford.

This is just one of several interior innovations Ford is developing to facilitate productivity while on the move. The F-150 pickup truck already offers a fold-down shifter to optimize center console space and fold-flat seats for added comfort. Ford has also submitted patent applications for various in-car work station concepts.

While not all ideas presented in patent filings may make it to production, Ford’s ongoing exploration of interior reconfiguration indicates a serious commitment to innovation.

The proposed center-console table is a relatively straightforward concept compared to other ideas under consideration. Its simplicity enhances the likelihood of implementation in future vehicle models.











